Согра-3, длит. горение, безопасное расстояние от варочной...
- ferrum
- Рядовой (новичок) Мобиба Гвардии
Послужной список
Согра-3, длит. горение, безопасное расстояние от варочной...
...плоскости до тента палатки?
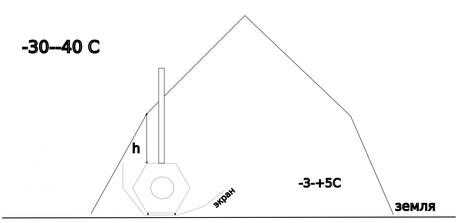
Форма палатки изображена неточно: палатка двускатная, но с ветровыми оттяжками в центре плоскостей крыши (а значит немного выпуклая).
Однослойный синтепон 100 г на м2, цвет белый.
Длина (вдоль печки) 2 м.
Ширина 1,9 м.
Высота в коньке 1,6 м.
Прикидываем режим горения.
h=?
№1: отравление продуктами тления тента палатки
h11=высокая безопасность
h12=наружение ТБ, но не самоубийство
№2: расплавление тента
h21=высокая безопасность
h22=наружение ТБ, но не самоубийство
Форма палатки изображена неточно: палатка двускатная, но с ветровыми оттяжками в центре плоскостей крыши (а значит немного выпуклая).
Однослойный синтепон 100 г на м2, цвет белый.
Длина (вдоль печки) 2 м.
Ширина 1,9 м.
Высота в коньке 1,6 м.
Прикидываем режим горения.
h=?
№1: отравление продуктами тления тента палатки
h11=высокая безопасность
h12=наружение ТБ, но не самоубийство
№2: расплавление тента
h21=высокая безопасность
h22=наружение ТБ, но не самоубийство
- Шалаев Михаил
- Генерал-полковник Мобиба Гвардии
Послужной список
Re: Согра-3, длит. горение, безопасное расстояние от варочно
ferrum
К чему, или о чём сей пост, и при чём синтепон, в палатках Мобиба
его не встречал , и режимы горения? Разъясните, интересно.
К чему, или о чём сей пост, и при чём синтепон, в палатках Мобиба
его не встречал , и режимы горения? Разъясните, интересно.
- Юрий68
- Генерал-майор Мобиба Гвардии
Послужной список
Re: Согра-3, длит. горение, безопасное расстояние от варочно
Миш, так сразу же видно. Там юный мичуринец пытается скрестить Согру с каким-то изделием. А по причине крайне малого опыта(иначе бы и не спрашивал) решил здесь попытаться им разжиться. Да и заход какой-то... Ни здрасте, ни привет, сразу вопросы в лоб.
- glu_iv
- Генерал подразделения Мобиба Гвардии
Послужной список
Re: Согра-3, длит. горение, безопасное расстояние от варочно
По существу вопроса я думаю от 0,5 метра и больше должно быть. В режиме длительного горения сильного жара от варочной поверхности не идет. А вот в режиме активного хорошо жарит. Снизу и с боков Согра очень хорошо экранирована, а варочная фонит неплохо.
- syslog
- Модератор Форума
Послужной список
Re: Согра-3, длит. горение, безопасное расстояние от варочно
В1ferrum писал(а): Прикидываем режим горения.
h=?
№1: отравление продуктами тления тента палатки
h11=высокая безопасность
h12=наружение ТБ, но не самоубийство
№2: расплавление тента
h21=высокая безопасность
h22=наружение ТБ, но не самоубийство
В11=проходной узел где?
В12=приточка где расположена?
В2
В21=греть помещение или варить еду?
В3
В31=вам зачем травить кого-то?
В32=или сжечь кого-то?
* 555 Экран печи расположен не верно на вашем рисунке.
Кто в Мобибе не бывал - тот и бани не видал!
- ferrum
- Рядовой (новичок) Мобиба Гвардии
Послужной список
Re: Согра-3, длит. горение, безопасное расстояние от варочно
Здравствуйте дорогие форумчане!
Палатка и печка - это мой спальник.
Нужно вшить разделку под трубу, т.е. в лесу я передвинуть печку не смогу (сильно).
Хочется печку пододвинуть поближе к стенке палатки.
В -40 печку придётся раскочегарить, а передвинуть я её уже не смогу.
В инструкции говорится о 50 см., но не уточняется сбоков или сверху. В первом случае это много, во втором не знаю.
Нужен полумобильный спальный мешок для экстримальных условий: -40, я плохо поел и, чтобы в спальнике было тепло или лучше жарковато.Шалаев Михаил писал(а): о чём сей пост
Палатка и печка - это мой спальник.
Нужно вшить разделку под трубу, т.е. в лесу я передвинуть печку не смогу (сильно).
Хочется печку пододвинуть поближе к стенке палатки.
В -40 печку придётся раскочегарить, а передвинуть я её уже не смогу.
даЮрий68 писал(а):пытается скрестить Согру с каким-то изделием
затрудняюсь с ответомsyslog писал(а): проходной узел где?
щель 1,9 метра или в самом низу или скажем в 5 см. от полаsyslog писал(а): приточка где расположена?
греть до +5 градусовsyslog писал(а): греть помещение или варить еду?
хочется знать границы допустимого, чтобы в условиях малых ресурсов было пространство для манёвраsyslog писал(а): вам зачем травить кого-то?
...или сжечь кого-то?
экран наполовину снят, ножек нетsyslog писал(а): * 555 Экран печи расположен не верно на вашем рисунке.
В инструкции говорится о 50 см., но не уточняется сбоков или сверху. В первом случае это много, во втором не знаю.
- Шалаев Михаил
- Генерал-полковник Мобиба Гвардии
Послужной список
Re: Согра-3, длит. горение, безопасное расстояние от варочно
Всё уже придуман,по размерам и описание К5,д×ш×в 2×2×1,7 м,сейчас на неё есть накидной тент без тамбура,получается два слоя,и в наличие приточка с разделкой.ferrum писал(а):...плоскости до тента палатки?
Форма палатки изображена неточно: палатка двускатная, но с ветровыми оттяжками в центре плоскостей крыши (а значит немного выпуклая).
Однослойный синтепон 100 г на м2, цвет белый.
Длина (вдоль печки) 2 м.
Ширина 1,9 м.
Высота в коньке 1,6 м.
- ferrum
- Рядовой (новичок) Мобиба Гвардии
Послужной список
Re: Согра-3, длит. горение, безопасное расстояние от варочно
Возможно...Шалаев Михаил писал(а): Всё уже придуман,по размерам и описание К5,д×ш×в 2×2×1,7 м,сейчас на неё есть накидной тент без тамбура,получается два слоя,и в наличие приточка с разделкой.
Непонятно что теплее синтепон или 2 слоя обычн. ткани.
Палатка мобибы просторнее, а для меня это минус.
- syslog
- Модератор Форума
Послужной список
Re: Согра-3, длит. горение, безопасное расстояние от варочно
Палатка в 2 слоя без синтепона (с воздушным зазором между слоями) будет лучше держать тепло от печи, чем однослойная с синтепоном.ferrum писал(а):Возможно...Шалаев Михаил писал(а): Всё уже придуман,по размерам и описание К5,д×ш×в 2×2×1,7 м,сейчас на неё есть накидной тент без тамбура,получается два слоя,и в наличие приточка с разделкой.
Непонятно что теплее синтепон или 2 слоя обычн. ткани.
Палатка мобибы просторнее, а для меня это минус.
Если нужен компактный вариант - это к5 с накидным тентом (с тамбуром или без - по вашему желанию). С тамбуром даст вам даже некий плюс в месте размещения дров, вещей и не сразу будете терять тепло при входе/выходе).
Из плюсов это:
- готовое безопасное решение палатки;
- безопасная дверь, а для палатки с печью это очень важно;
- палатка банная, поэтому выдерживает температуры и до +120С
Вариант палатка и второй слой тент без тамбура достаточно компактен и легкий.
Утепление пола даст существенное улучшение комфорта и экономию дров.
Печь Согра или Дюна - выбирайте сами.
Кто в Мобибе не бывал - тот и бани не видал!
- syslog
- Модератор Форума
Послужной список
Re: Согра-3, длит. горение, безопасное расстояние от варочно
ferrum
Тут принято заполнять поля откуда вы, имя и свою фотографию.
Тут принято заполнять поля откуда вы, имя и свою фотографию.
- glu_iv
- Генерал подразделения Мобиба Гвардии
Послужной список
Re: Согра-3, длит. горение, безопасное расстояние от варочно
ferrum
Дима, не видя палатку сложно что-то говорить. На этом форуме народ в основном использует профильные палатки с Мобибовскими печами.
Берите любую железную печь активного горения и испытываете поднося ткань Вашей палатки и наблюдая.
Готового ответа на этом форуме не найдете.
Дима, не видя палатку сложно что-то говорить. На этом форуме народ в основном использует профильные палатки с Мобибовскими печами.
Берите любую железную печь активного горения и испытываете поднося ткань Вашей палатки и наблюдая.
Готового ответа на этом форуме не найдете.
- Евгений Каргин
- Сержант Мобиба Гвардии
Послужной список
Re: Согра-3, длит. горение, безопасное расстояние от варочно
Всё гораздо проще. Берете промышленный фен, включаете его на максимум, кусочек ткани палатки которую используете и пробуете с какого расстояния она начнёт плавится или гореть.
- ferrum
- Рядовой (новичок) Мобиба Гвардии
Послужной список
Re: Согра-3, длит. горение, безопасное расстояние от варочно
Думал найду... ладноglu_iv писал(а):ferrum
Готового ответа на этом форуме не найдете.
Про фото надо подумать...
- Shift
- Старший сержант Мобиба Гвардии
Послужной список
Re: Согра-3, длит. горение, безопасное расстояние от варочно
Вопрос решается термостенкой.
У "Берега" есть готовые, но можно и самому из базальтовой ткани инготовить
Даже самая длинная дорога начинается с первого шага....
tэл0Ф0n: PlUS7-ДевЯть-трИ-7-127-Один-1-ОдиН-1
https://www.drive2.ru/users/mrshift/
https://vk.com/i.sarmin
tэл0Ф0n: PlUS7-ДевЯть-трИ-7-127-Один-1-ОдиН-1
https://www.drive2.ru/users/mrshift/
https://vk.com/i.sarmin
- ferrum
- Рядовой (новичок) Мобиба Гвардии
Послужной список
Re: Согра-3, длит. горение, безопасное расстояние от варочно
стена-экран=12,5 см. (изобр. №13)
стена-варочная плоскость=25 см. (№14)
от варочной плоскости вверх= 62 см. (№23)
труба 2 полных сегмента внутри палатки
до стенки палатки:
нижн. сегмент=22 см. (№15)
рис. 19-21 - линейка вверх вдоль трубы до тента
стена-варочная плоскость=25 см. (№14)
от варочной плоскости вверх= 62 см. (№23)
труба 2 полных сегмента внутри палатки
до стенки палатки:
нижн. сегмент=22 см. (№15)
рис. 19-21 - линейка вверх вдоль трубы до тента
